硬齒面減速機JRTF系列為平行軸斜齒輪減速電機,安裝方式為底腳安裝,安裝方式可以為法蘭安裝,及B5法蘭花鍵空心軸安裝。此款為空心軸。硬齒面減速機有時也叫硬齒面減速器或硬齒面減速箱。
硬齒面減速機JRTF系列特點:
體積小、重量輕、傳遞扭矩大、起動平穩、低損耗、安裝方式多樣,輸入輸出靈活等特點。非常適合在空間受限制的情況下使用。并能與各種減、變速機組合,適用于各種不同條件要求的場所。
硬齒面減速機JRTF系列使用說明:
1.1安裝注意事項
11.1 減速機須安裝在平整堅固的底座上,底腳螺栓必須緊固、防震。
1.1.2 原動機--減速機--工作機的各聯接軸伸.安裝后必須互相準確對準軸線。
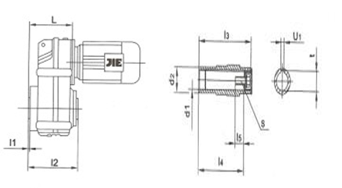
1.1.3 減速機輸入端及輸出端軸伸外徑尺寸公差均按h6制作.與之相配的聯軸器、皮帶輪、鏈輪等傳動件內孔須按合適的尺寸公差配制,避免裝配過緊損壞軸承.裝配過松影響正常動力傳遞。
1.1.4 鏈輪、齒輪等傳動件裝上軸伸時.應盡量靠近軸承.以減少軸伸彎曲應力。
1.1.5 WPD型減速機裝配電機時,應在蝸桿頭部內孔孔壁及鍵槽處涂抹黃油.避免裝配過緊.防止軸孔日久生銹。
1.1.6 訂購使用各類WPD減速機時.若電機重量偏大.應設支撐裝置。
1.2使用注意事項
1.2.1 使用前應注憊檢查減速機型式結構、中心距規格、傳動比、拍入軸連接方式、輸出軸結構、輸入軸輸出軸軸指向和回轉方向等是否符合使用要求。
1.2.2 按照樣本上“油品潤滑”中所規定的要求,注入合適的品種牌號潤滑油。加油后,旋緊頂部的通氣器,拔掉通氣器上之小錐塞.減速機方可開始運轉.必須選用合適牌號的潤滑油.必須控制適宜的加油量。必須按規定要求及時換油.尤其要重視首次使用100小時后的更換新油。
1.2.3 使用過程中發生不正常情況時.應及時停機檢查,可參照“故障分析’表處理。(減速機的油溫最高允許達到95℃.在此溫度界限下.只要油溫不再上升.可以放心使用)。
硬齒面減速機JRTF系列詳細尺寸圖:

